QuotesGram
  • Join
  • Authors
  • Topics
  • Movies
  • TV Shows

Catchy Prodrug Quotes

Thank you! Don't forget to confirm subscription in your email.

Catchy Quotes
preview
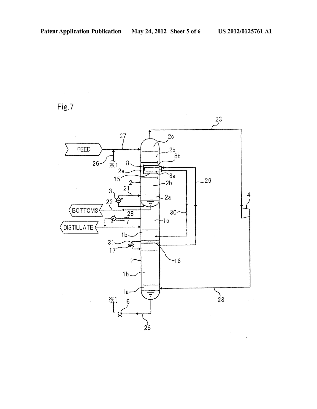
Figure Schematic Distillation Apparatus The Mixture Heated
122 Prodrug
preview
forum.nbu.bg
preview
Warning : Illegal string offset 'link' in [path]/includes/class_bbcode ...
121 Diabetes
104f7452cae649f3123f51b880749cd3_m.jpg
preview
preview
preview
preview
Related Pictures free queen b cell phone wallpaper
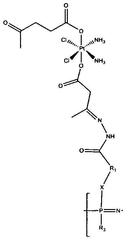
Figure Chemical Formulae The Biologically Active Ponents
GENSAT Mouse Brain Atlas, expression of gene Arc in the Cerebral ...
preview
obama drugs Boris Johnson, Sarah Palin And Barack Obama Star In Pro ...
Figure Chemical Formulae The Biologically Active Ponents
Figure Schematic Distillation Apparatus The Mixture Heated
preview
Figure Schematic Distillation Apparatus The Mixture Heated
Figure 32 An Acceptable Two Storey Rear Extension To A Semi Detached
Related Pictures funny doug stanhope pictures
Quotes On Smile (22) Smile Quotes And Sayings Via emma behrens Anonymous Funny Quotes And Sayings Deep Motivational Pictures Quotes|Motivational Quotes Sayings. Motivational Quotes Funny Autumn Quotes5 Catchy Quotes For Autumn life quotes (13) Life Quotes christmas_penguin_cuff_bracelet.jpg?color=White&height=250&width=250 ... Catchy Jewelry Quotes Get A Catchy Slogan For Your Business Catchy Business Quotes Abraham Lincoln quotes about religion Abraham Lincoln Quotes albert-einstein-quotes.png Albert Einstein Quotes Bill Gates Quotes I choose a lazy person to do a hard job. Because a ... Bill Gates Quotes Best Bob Marley Quotes 2013 5 Bob Marley Quotes Bruce Lee Quotes Bruce Lee Quotes

Quotes

  • Authors
  • Topics
  • Movie Quotes
  • TV Show Quotes

QuotesGram

  • About Us
  • Contact Us
  • Quote of the Day

Terms

  • Privacy Policy
  • Terms & Conditions
  • Copyright Complaint

Follow Us

  • Facebook
  • Twitter
  • Pinterest
  • Instagram

Share Quote

Report Quote

Your intellectual property
Thank you!

Add Quote




Thank you!

Login with

or
Looking to create an account?
Forgot your password?
Already have an account? Login